这里简单对比两类高强螺栓,了解大六角螺栓和扭剪螺栓的区别,了解其中的核心概念:“扭矩系数”和“拧紧轴向力”。
高强度螺栓、大六角型、扭剪型
★
高强度螺栓从外观上很容易区分为大六角螺栓。 大六角头螺栓的螺母为正六角形。 可以推断,这是需要用扳手方便固定的。 这是最初使用的高强度螺栓的类型。
扭剪型高强螺栓端部有梅花夹头,螺栓的螺母一般为圆形(无需用扳手固定); 它是日本人在HSFG基础上开发的改进产品。

01
外观对比分析

大六角型:
六角头螺栓是用固定扭矩扳手构造的。 由于拧紧时没有握紧螺钉,因此在旋转螺母的同时,可能会带动螺钉“同转”,浪费扭矩值,导致无法拧紧。 因此,螺钉头设计为大六角形。 当发生同转时,可用普通扳手暂时固定,避免同转。
定扭矩扳手伸出的支撑杆主要是为了提供一个支点来确定其所施加的扭矩。 因此,没有可靠的支点钢结构高强度螺栓连接的设计,扳手就无法用于施工。

扭剪类型:(闪烁头)
扭剪式螺栓采用扭剪式扳手构造,根部采用正向和反向扭杆,通过“梅花头”直接夹紧螺钉本身,因此拧紧时不会发生同转。 产品设计的思路是:当螺杆达到预拉力值时,材料能承受相应的剪切力来设计削弱梅花头的根部截面,达到剪切的目的。

02
原理对比分析

首先必须明白,同型号的大六角、扭剪螺栓在正确的施工方法下所能达到的预拉力设计值是相同的。
大六角头高强度螺栓(HSFG)拧紧流程:(了解“扭矩系数”)
“541”原则

“541”原理是日本人根据工程实践,通过反复实验总结出来的扭矩值与预紧力的对应关系。 英国钢结构教科书对此进行了引用和详细阐述,其中给出了扭矩损失的因素。 在国内钢结构教育中,“541”原理很少被提及,但它直接体现了我们理解的“扭矩系数”:
有效锁模力/总输出扭矩=扭矩系数(0.11~0.14)
因此,“扭矩系数”是大六角高强螺栓HSFG施工中最重要的参数。 为了保证大六角螺栓的施工质量,必须对其扭矩系数进行测量和检验。
扭剪型高强螺栓(TCB)拧紧过程:(了解“拧紧轴向力”)
削弱截面的剪切过程

当施加扭矩使材料内部拉应力聚集达到设计值(“紧固轴向力”)时,材料相应的剪切强度刚好足以使梅花头削弱该截面并将其扭断。
分析表明,即使对于扭剪型螺栓,也不是直接反馈螺杆中的预紧值,而是用抗剪力来替代。 测试项仍然不是直接项,存在替换错误。
因此,为了保证扭剪螺栓的施工质量,必须测量其受剪时相应的“紧固轴力”。 其值应符合预紧设计值。
03
扭剪式与大六角的比较

连接对组成比较
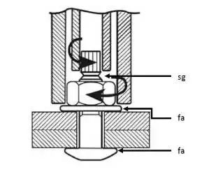
根据国家标准JGJ-82 6.1.1的规定,高强螺栓连接副中,大六角螺栓需2个垫块1个螺母,扭剪型高强螺栓需1个垫块1个螺母。
验收方式比较
施工完毕后,用固定扭矩扳手检查大六角螺栓HSFG。 验收扭剪型TCB时,注意梅花头是否折断,即为合格。




隆基二手钢结构位于德州市齐河经济开发区。 经过20多年的创新发展,公司现拥有工业园区62亩,生产研发车间3万平方米。 大量引进瑞士、德国、日本制造的加工产品。 装备,成为国内最大的电动扳手生产基地。
汉普专业生产电动扭剪扳手、电动扭矩扳手、手动扭剪扳手、轴向力计、轴向力扭矩计。 产品主要应用于钢结构安装、设备安装、电力建设、桥梁建设、铁路建设、汽车装配等行业。 多年来,汉普制造服务了多个国家标志性工程,并远销海外。 在北美、南美、中东、印度、韩国等市场拥有成熟的代理商或经销商钢结构高强度螺栓连接的设计,并能提供优质的售后服务。

长按二维码