1、脚手架施工说明
1、建筑工人
1)脚手架施工人员必须持有特种作业操作证方可上岗。
2)脚手架安全操作管理要求施工人员正确使用个人劳动防护用品、防滑鞋、工具包等。

高低使用安全带
2、脚手架安全专项施工方案
1)脚手架是隆基二手钢结构的危险品,必须编制专门的安全施工方案。
2)超过一定规模的危险性工程,如高度50m及以上落地式钢管脚手架工程、提升高度150m及以上附着式整体、分段升降脚手架工程、悬臂式脚手架工程高度20m及以上。 对于隆基二手钢结构,应组织专家论证方案。
2、脚手架准备工作
1、脚手架材料要求
1、钢管为φ48.3mm*3.6mm钢结构需要搭设脚手架吗,每根管子最大质量不应大于25.8kg。 使用前应涂防锈漆和警示色。

涂有警示漆的钢管
2、常用的紧固件有以下三类:
(1) 用于连接两根钢管的对接紧固件。
(2)用于连接任意角度相交的两根钢管的旋转紧固件;
(3)连接两根垂直相交钢管的直角紧固件;

紧固件的三种形式
3. 碱基选择
底座一般采用厚度8mm、边长150~200mm的钢板作为底板,其上焊接150mm高的钢管(或钢筋)。 底座有插入式和夹套式。

底座形式
4、木脚手架板采用4000×200×50mm杉木、红松等一级材料,两端用镀锌铁丝箍缠绕两遍。

脚手架板
5.安全网
密目网和水平安全网应符合相关标准,并必须有认证(阻燃)。
密目安全网密度不小于2000目/100cm²

水平安全网

密目安全网
3、落地式脚手架搭设要点

设置示意图
1、木垫的基本要求:
垫板应准确放置在定位线上,采用长度不小于2跨、厚度不小于50mm、宽度不小于200mm的木垫板,底座放在垫板上。


2、设置扫地杆的基本要求:
脚手架必须设有垂直和水平的扫杆。 纵向扫杆(大横杆方向)应采用直角紧固件固定在距离钢管底部不超过200mm的立杆上。 水平扫杆(小横杆方向)应用直角紧固件固定在纵向扫杆正下方的竖杆上。

扫地杆安装

扫地杆高度
3、投掷支撑及本地节点设置要求:
1) 脚手架开始搭设时,应每隔6跨安装一个拉杆。 当脚手架高度大于7m,不便安装拉杆时,应安装挂墙件,将脚手架与建筑物牢固连接,直至挂墙件安装稳定。 之后可以根据情况进行拆卸。 投掷支撑与地面的夹角应在45°~60°之间,距主节点的距离不应大于300mm。

投掷支持和设置
2)除顶部台阶可以搭接外,其他部位的连接处必须采用对接紧固件连接。 立杆搭接长度不应小于1m,并应采用不少于2个旋转紧固件固定。

3)脚手架立杆顶部应高出女儿墙上端1m,高出檐口上端1.5m。

4、立杆基本要求:
1)立杆上的对接紧固件宜错开布置。 同步方向上一根立杆相隔的两关节间距离不应小于500mm,各关节中心至主节点的距离不应大于步距的1/3。 。

2)当脚手架立杆基础不在同一高度时,高处的垂直扫杆必须向低处延伸两跨并固定在立杆上。 高度差不应大于1m。 斜坡上方立杆轴线至斜坡的距离不应小于500mm。

5、纵向水平杆架设基本要求:
1)脚手架的纵向水平杆应与立杆一起逐步搭设,并应用直角扣件与立杆固定。

2)纵向横杆宜设置在立杆内侧,单根立杆长度不应小于3跨。

3)相邻两根纵向水平钢筋的接头不应同步设置或在同一跨内设置;
4)不同步或跨度不同的两个相邻接头之间的水平错开距离不应小于500mm;
5)各节点中心至最近主节点的距离不应大于纵向距离的1/3。

6、水平水平杆架设基本要求:
1)脚手架主节点必须设有水平水平杆,采用直角紧固件紧固,严禁拆卸。
2)使用木脚手板或竹串脚手板时,水平横杆两端应用直角扣件固定在纵向横杆上。

3)双排脚手架靠墙水平横杆端部伸出长度不宜大于500mm。 若超过限度,应加设内保护水平杆。

4)工作层非主要节点处的横向水平杆应根据支撑脚手架板的需要等间距设置。 最大间距不应大于纵向距离的1/2。

5)对接扣件开口处立杆应朝内,横杆应朝上; 每根立杆端部紧固件盖边缘至立杆端部(防滑)的距离不应小于100mm。


7、与墙面连接件的设置要求:
1)连接墙件应靠近主节点安装,距主节点的距离不应大于300mm。
2)连接墙件应从底层第一根横杆开始安装。 当此处设置出现困难时,应采用其他可靠的措施来解决。

3)开放式脚手架两端必须安装墙体配件。 墙体间的垂直间距不宜大于建筑物层高,且不宜大于4m。

4)连接墙部位的连接墙杆应水平设置。 当无法水平设置时,应斜接于脚手架一端。 禁止向上连接。

8、剪刀撑设置基本要求:
1)高度小于24m的落地式脚手架,必须在外两端、拐角处和立面设置剪刀撑,中间间隔不大于15m,并应自下而上连续安装。顶部。

2)高度24m及以上双排落地脚手架宜在整个外立面连续设置剪式支撑。

3) 每个剪刀撑的宽度不宜小于4跨,且不宜小于6m。 斜杆与地面的倾斜角度应在45°至60°之间。

4) 剪刀撑斜杆应用旋转紧固件固定在与之相交的横向水平杆或立杆的延伸端上。 旋转扣件中心线至主节点的距离不应大于150mm。

5)剪刀撑搭接长度不应小于1m,并应采用不少于3个旋转紧固件固定。
9、设置水平斜撑的基本要求:
1)对于高度24m及以上的封闭式脚手架,除拐角处应设置水平斜撑外,中间还应每6跨设置1个。
2)开放式双排脚手架两端必须设置横向斜撑。
3) 横向斜撑应在同一截面之间自下而上连续呈锯齿状布置。

10、脚手架板铺设基本要求:
1)工作层脚手架板应铺满、稳定、牢固。
2)脚手架板宜设置在三根水平横杆上。
3)当脚手架板长度小于2m时,可用两根水平横杆支撑,但脚手架板两端与水平横杆应可靠固定,防止倾翻。
4)脚手架板宜采用对接瓦或搭接缝铺设。
5)脚手架板对接铺设时,接头处应设置两根水平横杆。 脚手架板的伸出长度宜为130~150mm。 两块脚手架板的伸出长度之和不应大于300mm。
6) 脚手架板搭接铺设时,接头处应支撑在水平横杆上,搭接长度不应小于200mm钢结构需要搭设脚手架吗,伸出水平横杆的长度不应小于100mm。
7)工作层端部脚手架板的探头长度宜为150mm,板两端应固定在支撑杆上。
(脚手架板探头应用直径3.2mm的镀锌钢丝固定在支撑杆上)

8)脚手架板铺设时应注意区分问题:
使用冲压钢脚手板、木脚手板或竹串脚手板时,应采用纵向水平杆作为横向水平杆的支撑,即将横向水平杆压在纵向水平杆上。

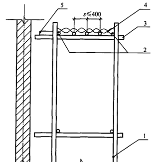
使用竹篱笆脚手架板时,纵向横杆应用直角扣件固定在横向横杆上,并应等间距设置。 间距不宜大于400mm,即纵向横杆压在横向横杆上。

9)脚手架板底部应采用双层安全网,距墙距离不宜大于150mm(现场外墙施工一般留300-400mm)。
11、脚手架防护的基本要求:
1)脚手架外侧必须覆盖密目安全网,并用专用绳索牢固、紧密地固定在纵向水平杆上。
2)工作层脚手架板下每隔10m必须用水平安全网封闭。
3)以首层为基础,每隔10m必须安装完整的安全平网。
4)护边高度不应小于1.2米。 第一根横杆离地高度为60厘米,下面有18厘米的护脚板。
12、坡道施工基本要求:
1) 坡道应附着在外部脚手架或建筑装置上。
2)高度不超过6m的脚手架宜采用直坡道;
3)高度大于6m的脚手架,宜采用锯齿形坡道;
4)拐角处应设置平台,其宽度不应小于坡道的宽度;
5)坡道两侧及平台周围应设置栏杆和止脚件; 栏杆高度宜为1.2m,挡脚高度不宜小于180mm;
6) 铺设脚手架板时,水平横杆下方应增设纵向支撑杆,纵向支撑杆之间的距离不应大于500mm;
7)脚手架板铺设平整时,接缝应搭接,下板头压住上板头,板头凸边用三角木填充;
8)物料运输溜槽的宽度不宜小于1.5m,坡度不宜大于1:6; 人行坡道的宽度不宜小于1m,坡度不宜大于1:3;
9)人行坡道和运输物料的脚手架板应每隔250~300mm安装一条防滑木条,木条厚度宜为20~30mm;

4、检验验收:
1、脚手架及其基础应分以下阶段进行验收:
(1)基础完成后、脚手架搭设前;
(2)对工作层施加荷载前;
(3)每次安装后6~8米;
(4)达到设计高度后;
(五)遭遇六级以上大风、大雨、冰冻地区解冻后;
(6)停药1个月以上。
2、拆除脚手架的安全注意事项:
拆卸前的准备工作:
(一)拆除前安全技术交底;
(2)全面检查脚手架扣件连接、墙体附着物、支撑系统是否符合结构要求;
(3)清除脚手架上的杂物和地面障碍物;
(四)设置警戒、隔离区域;
拆卸顺序:
拆除应从上到下,逐层进行,即安全网→栏杆→脚手架板→剪刀撑→小横杆→大横杆→立杆,一步步进行。
拆除至下部最后一根立杆高度时,应先搭设临时支撑加固,再拆除连接墙部分。
拆装安全事项:
(1)连接墙部分必须随脚手架逐层拆除。 严禁在拆除脚手架前先拆除整层或数层连接墙部分;
(2)应自上而下逐层进行,严禁同时上下作业;
(3)分段拆除高差大于两级台阶时。 应增加墙壁配件;
(4)卸货时严禁将构件抛掷到地上;
(5)拆除的构件应用塔吊吊装或人工转移至地面。 严禁从高处向下抛掷。